BWT E1-filter til partikler
BWT E1-filter til partikler
BWT E1-filter til partikler
BWT E1-filter til partikler

BWT E1 HWS silfilter

Reduksjonsventil med silfilter mot smuss og partikler

Kontakt oss

Varenr. 125639941 / 125639942
NRF. nr 8758852 / 8758851

  • NS-EN-1717, kategori 2 ventil
  • Enkel og rask utskifting av filterelementet
  • Tilgjengelig i dimensjonene ¾" og 1"
  • Godkjent av Folkehelseinstituttet
Gå til
Produktbeskrivelse
Teknisk data
Spørsmål
Downloads
BWT E1 HWS silfilter er beregnet til filtrering av drikke- og forbruksvann. Det er et beskyttelsesfilter med innovative komfort- og hygienefordeler, og er laget på en sånn måte at man reduserer risikoen for uønsket smuss og partikler i vannet. Silfilteret skal monteres direkte ved inntakspunktet, der den kommunale ledningen kommer inn i huset.

Filtrering
E1 HWS er et silfilter som beskytter ledningsnettet mot partikler, rust, spon og hamp, i tillegg til at det reduserer risikoen for mugg- og bakterievekst. Silfilteret overholder alle standarder for hygienisk og trygt drikkevann. Silfilteret består av både en reduksjonsventil og tilbakeslagsventil. 

Utskifting av hygieneenheten
Det er såpass enkelt å skifte ut hygieneenheten (filtekroppen med filterelementet) at brukeren kan få gjort dette selv på få sekunder. Filteret må skiftes når man merker at vanntrykket synker på grunn av partikler som er fanget i silelementet. 
  1. Lås opp sikringen og sperr samtidig for vannet
  2. Trekk opp spaken slik at hygieneenheten støtes ut automatisk
  3. Sett inn den nye hygieneenheten.
  4. Lukk spaken, lås og så er du ferdig. 

BWT har svekket hygienerisikoene ettersom man ikke berører vannutsatte deler. I tillegg hindrer E1 HWS vannsprut når hygieneenheten skiftes ut og vannledningen går ikke tom. 

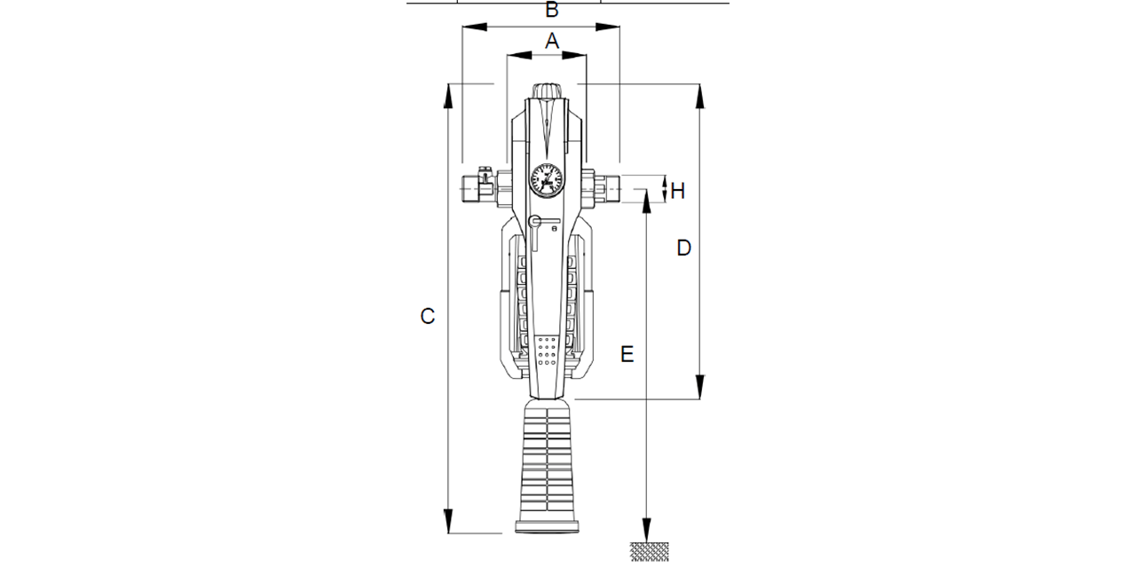
Tekniske detaljer

BWT E1 HWS silfilter

Varenr. 125639941 125639942
NRF nr. 8758852 8758851
Tilkoblingsgjenge ¾" AG  1" AG
Dimensjoner 3/4" 1"
Nominelt trykk PN 16 bar 16 bar
Filterinnsats frihetsgrad  90 - 110 µm 90 - 110 µm 
Nominell tilkoblingsbredde DN20 DN25
Utløpstrykk etter reduksjonsventil  2 - 6 bar 2 - 6 bar
Driftstrykk (min./maks) 2 / 16 bar 2 / 16 bar 
Gjennomstrømming (m³/t) 2,3 3,6
Vanntemperatur (min./maks)  5 / 30 °C  5 / 30 °C 
Omgivelsestemperatur (min./maks)  5 / 40 °C  5 / 40 °C  
Byggelengde (A) u/tilkoblingsdeler 100 mm 100 mm 
Bygglengde (B) m/tilkoblingsdeler  199 mm 199 mm
Total høyde (C) m/hygieneboks 567 mm 567 mm
Total høyde (D)  398 mm   398 mm
Min. fri avstand nedover fra senterlinje rør (E)  480 mm 480 mm 
Avstand fra senter rør til vegg  80 - 120 mm 80 - 120 mm 
Gjengedimensjon overfallsmutter (H)   G 1 ¼" G 1 ¼
Driftsvekt, ca.   4 kg 4 kg 

BWT E1 silfilter for å beskytte mot partikler
BWT E1 silfilter for å beskytte mot partikler

Hvor skal et E1 silfilter monteres?

E1 silfilter monteres direkte etter vannmåleren.

Hvor ofte må jeg bytte filter?

Hvor ofte du må bytte filter kommer an på vannforbruket ditt, men intervallet er på ca hver 6 måned. Du kan tilføye E1 silfilteret ditt i BWT appen og få beskjed når det er på tide å skifte filteret.

Hva vil dette silfilteret fjerne fra vannet?

BWT E1 silfilter reduserer risikoen for at du får smuss og partikler i vannet, i tillegg til å redusere risikoen for mugg- og bakterievekst i ledningsnettet. 

Må man ha tatt en vannprøve før man kjøper et silfilter? 

Nei, det må man ikke. Vi vil derimot anbefale å ta en vannprøve for å få full kontroll på hvilket vannproblem du har i huset ditt eller på hytta. På denne måten kan vi sørge for at du får installert det BWT vannrensingsproduktet som dekker dine behov. 

Weitere laden

 

Produktdatablad og brosjyrer
BWT E1 HWS produktdatablad PDF, 259 Kb Last ned
Guides og manualer
BWT E1-filter manual DK PDF, 8 Mb Last ned
 
Produktbeskrivelse
BWT E1 HWS silfilter er beregnet til filtrering av drikke- og forbruksvann. Det er et beskyttelsesfilter med innovative komfort- og hygienefordeler, og er laget på en sånn måte at man reduserer risikoen for uønsket smuss og partikler i vannet. Silfilteret skal monteres direkte ved inntakspunktet, der den kommunale ledningen kommer inn i huset.

Filtrering
E1 HWS er et silfilter som beskytter ledningsnettet mot partikler, rust, spon og hamp, i tillegg til at det reduserer risikoen for mugg- og bakterievekst. Silfilteret overholder alle standarder for hygienisk og trygt drikkevann. Silfilteret består av både en reduksjonsventil og tilbakeslagsventil. 

Utskifting av hygieneenheten
Det er såpass enkelt å skifte ut hygieneenheten (filtekroppen med filterelementet) at brukeren kan få gjort dette selv på få sekunder. Filteret må skiftes når man merker at vanntrykket synker på grunn av partikler som er fanget i silelementet. 
  1. Lås opp sikringen og sperr samtidig for vannet
  2. Trekk opp spaken slik at hygieneenheten støtes ut automatisk
  3. Sett inn den nye hygieneenheten.
  4. Lukk spaken, lås og så er du ferdig. 

BWT har svekket hygienerisikoene ettersom man ikke berører vannutsatte deler. I tillegg hindrer E1 HWS vannsprut når hygieneenheten skiftes ut og vannledningen går ikke tom. 

Teknisk data

Tekniske detaljer

BWT E1 HWS silfilter

Varenr. 125639941 125639942
NRF nr. 8758852 8758851
Tilkoblingsgjenge ¾" AG  1" AG
Dimensjoner 3/4" 1"
Nominelt trykk PN 16 bar 16 bar
Filterinnsats frihetsgrad  90 - 110 µm 90 - 110 µm 
Nominell tilkoblingsbredde DN20 DN25
Utløpstrykk etter reduksjonsventil  2 - 6 bar 2 - 6 bar
Driftstrykk (min./maks) 2 / 16 bar 2 / 16 bar 
Gjennomstrømming (m³/t) 2,3 3,6
Vanntemperatur (min./maks)  5 / 30 °C  5 / 30 °C 
Omgivelsestemperatur (min./maks)  5 / 40 °C  5 / 40 °C  
Byggelengde (A) u/tilkoblingsdeler 100 mm 100 mm 
Bygglengde (B) m/tilkoblingsdeler  199 mm 199 mm
Total høyde (C) m/hygieneboks 567 mm 567 mm
Total høyde (D)  398 mm   398 mm
Min. fri avstand nedover fra senterlinje rør (E)  480 mm 480 mm 
Avstand fra senter rør til vegg  80 - 120 mm 80 - 120 mm 
Gjengedimensjon overfallsmutter (H)   G 1 ¼" G 1 ¼
Driftsvekt, ca.   4 kg 4 kg 

BWT E1 silfilter for å beskytte mot partikler
BWT E1 silfilter for å beskytte mot partikler
Spørsmål

Hvor skal et E1 silfilter monteres?

E1 silfilter monteres direkte etter vannmåleren.

Hvor ofte må jeg bytte filter?

Hvor ofte du må bytte filter kommer an på vannforbruket ditt, men intervallet er på ca hver 6 måned. Du kan tilføye E1 silfilteret ditt i BWT appen og få beskjed når det er på tide å skifte filteret.

Hva vil dette silfilteret fjerne fra vannet?

BWT E1 silfilter reduserer risikoen for at du får smuss og partikler i vannet, i tillegg til å redusere risikoen for mugg- og bakterievekst i ledningsnettet. 

Må man ha tatt en vannprøve før man kjøper et silfilter? 

Nei, det må man ikke. Vi vil derimot anbefale å ta en vannprøve for å få full kontroll på hvilket vannproblem du har i huset ditt eller på hytta. På denne måten kan vi sørge for at du får installert det BWT vannrensingsproduktet som dekker dine behov. 

Weitere laden
Downloads

 

Produktdatablad og brosjyrer
BWT E1 HWS produktdatablad PDF, 259 Kb Last ned
Guides og manualer
BWT E1-filter manual DK PDF, 8 Mb Last ned
 
BWT E1-filter til partikler

BWT E1 HWS silfilter

Beskytt dine vannførende apparater og få sunt drikkevann

BWT E1 silfilter for å beskytte mot partikler
BWT E1 silfilter for å beskytte mot partikler
BWT bytte filter til E1 silfilter vannrensing
BWT bytte filter til E1 silfilter vannrensing

Visit your local website

Stay on this website